涡阳县住房和城乡建设局
当前位置: 网站首页 > 政府信息公开 > 涡阳县住建局 > 权责清单和动态调整情况
索引号: 11341621003176511G/202312-00039 组配分类: 权责清单和动态调整情况
发布机构: 涡阳县住房和城乡建设局 主题分类: 城乡建设、环境保护 / 公民 / 公告
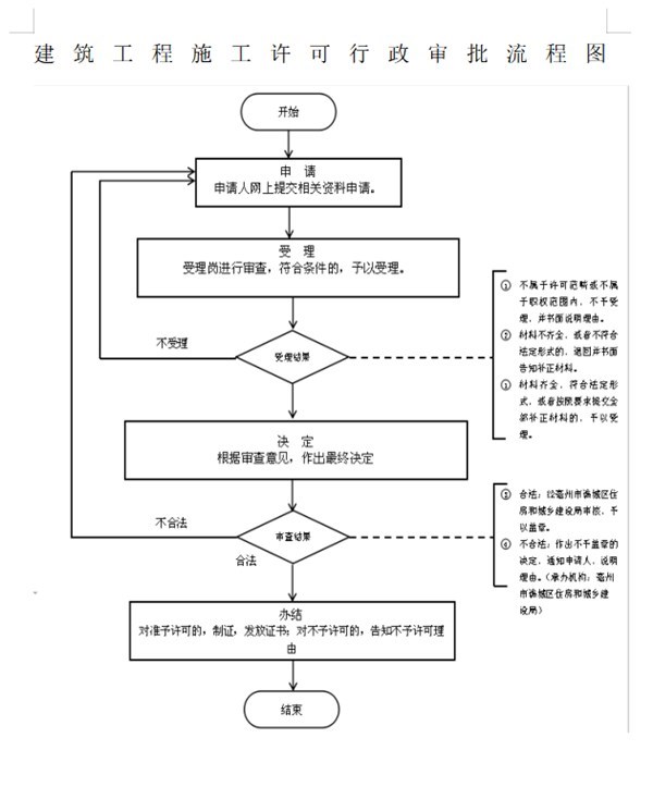
名称: 2023年涡阳县住建局行政许可流程图(建筑工程施工许可) 文号:
发文日期: 2023-12-05 发布日期: 2023-12-05
索引号: 11341621003176511G/202312-00039
组配分类: 权责清单和动态调整情况
发布机构: 涡阳县住房和城乡建设局
主题分类: 城乡建设、环境保护 / 公民 / 公告
名称: 2023年涡阳县住建局行政许可流程图(建筑工程施工许可)
文号:
发文日期: 2023-12-05
发布日期: 2023-12-05
2023年涡阳县住建局行政许可流程图(建筑工程施工许可)
发布时间:2023-12-05 10:07 信息来源:涡阳县住房和城乡建设局 浏览次数: 字体:[ ]